mpay的部署/码支付的部署/MPAY支付部署
工具特性:
- 开源程序,个人免费使用,不断更新
- 支持第四方收款服务商聚合码收款,免挂机、不掉线
- 支持微信、支付宝个人账户收款,免签约
- 采用易支付接口标准开发,兼容市面上大部分商城系统
- 在H5环境中,能正常长按识别扫码支付
- 支持多平台、多账号、多通道,灵活配置,收款轮询
背景说明:
一、几种支付工具的介绍:
1)虎皮椒/迅虎/蓝兔支付
这些平台都是微信支付宝等官方平台的支付服务商,能签约个人商户,实现在线收款,一些API支付接口可以直接调用,跟官方自己申请的几乎差不多。 优点是跟官方申请的支付接口差不多,N+1到账 缺点就是审核比较严,动不动投诉封商户号,一些羊毛党就爱整你,你是一点办法没有,另外开户基本都要交开户费,50-200不等,且还需要额外收取手续费。
2)彩虹易支付
彩虹易支付是一套收款程序,有专门的公司或平台用这套程序搭建一个收款平台,使用自己的微信或支付宝等官方账户来进行收款,你自己注商户号,运营方提供代收款服务,然后给你打款结算。 优点是审核不严,处理比较灵活,适合个人,技术支持比较好,注册可使用(有些需要注册费) 缺点就是平台容易卷款跑路,也没有什么有效监管,钱收不回来就亏大了(这也是最大的问题)
3)源支付/V免签:
源支付也是一套收款程序,有个人版和商户版,市面上能搜到的大部分都是商户版,可以入驻,使用自己的个人微信支付宝二维码收款。
V免签是一款开源免费适用于个人收款使用的收款程序,原理同源支付类似。 程序的设计思路主要是通过在手机或电脑上安装消息监听软件,用来监听获取微信和支付宝的收款到账通知来实现的支付成功回调的。方法很实用,本程序也添加了该功能插件,免费。
二、码支付定义:
码支付说到底就是通过二维码来进行收款,日常使用的除了微信支付宝生成的二维码外,还有一类二维码是由收款服务商提供的,它能通过一张收款二维码,同时支持微信、支付宝、云闪付等多渠道付款,一般称为聚合收款码。
具体部署教程开始
云服务及环境购买推荐:超级便宜最好买包年。
https://my.racknerd.com/aff.php?aff=10522
三、软件环境:
使用Thinkphp8框架,PHP版本 > 8.0(推荐8.2),前端UI使用Layui 2.9+PearAdmin后台
四、安装
1)首先安装宝塔面板
以宝塔面板安装地址:
wget -O install.sh https://download.bt.cn/install/install_6.0.sh && sudo bash install.sh然后后在cloudflare里面增加DNS解析,
参考购买域名的地址(超级便宜无需备案):Cheap Domain Names & Web Hosting Starting at $0.99!
cloudflare地址配置(需自行注册):www.cloudflare.com
cloudflare里的配置如截图

2)通过宝塔面板登陆管理后台,新建PHP站点和数据库,并确认创建
在网站列表页面,点击创建的网站的根目录,进入文件管理。
文件夹里面有一些默认文件,不用管他

点击上传文件,将源码压缩包上传到该文件夹,并解压到前文件夹里

源码地址:
https://mobile.yangkeduo.com/goods2.html?ps=C1zq7H8a7i
备份源码地址:https://shop.xiaoyan5589.cloudns.ch/buy/1
注:本源码经过博主二次开发,并且加入了些核心支付插件包含支付宝免输插件、支付宝账单支付插件、个人免输入转账插件等。
将mpay文件夹里面的所有文件,复制到当前根目录下,返回网站列表管理页面
注意,压缩包文件打包的是一个名为mpay的文件夹,需要将代码文件夹里面的所有文件复制出来,放到创建的网站根目录下,运行目录&仿静态 配置
点击网站名,进入网站配置设置页面

选择网站目录,运行目录选择public,保存

选择伪静态,模版选择thinkphp,即可自动填写,保存

PHP需要安装fileinfo扩展


然后访问网站
如果有报错:
Warning: require(/www/wwwroot/jimay.xiaoyan.sbs/public/../vendor/autoload.php): Failed to open stream: No such file or directory in /www/wwwroot/jimay.xiaoyan.sbs/public/index.php on line 6
需要你的环境里安装composer,同时需要在comand里去安装composer,具体安装为:
cd /www/wwwroot/你的域名 #进入到你的项目目录
composer install #如果已安装可以跳过
正式运行项目-配置连接数据库
在浏览器输入http://你的域名/install,进入程序安装界面,按照提示进行填写提交

填写相关数据库信息
数据库配置相关信息,在服务器管理面板里查找

微信/支付宝收款步骤
微信/支付宝生成的收款码,需要挂机监听收款消息,基本情况上面有介绍,因为使用广泛,所以也单独添加进来,可以实现正常收款回调
添加账号
收款平台选择微信支付或支付宝,收款账号就填写微信支付或支付宝的账号,与聚合码支付不同,此处填写的账号主要用来做区分,不会登陆后台
添加收钱码

点击可以查看当前账号的所有收款码

点击添加收款码后,可以正常填写二维码信息

微信支付和支付宝的终端编号是自动生成的,不可手动填写,分别对应当前账号的不同收款通道,支持个人码和赞赏码
收款样式有两个选项付款链接和图片地址,根据实际情况选择
付款链接: 将二维码的内容解析成字符串保存,使用时再生成二维码
图片地址: 上传二维码图片到服务器,或引用http远程图片地址
赞赏码等收款方式,采用的不是标准二维码编码格式,不能解析成文字保存,只能展示图片,建议一般二维码都解析成文字保存,前端展示时会根据内容自动再生成二维码,无法解析的就上传图片回调挂机监听收款通知
收款通知信息需要挂机监听,有手机监听和PC监听两种,手机可以同时监听微信和支付宝,PC只能监听微信,具体支持的通知和功能在设置账号页面有详细介绍。
PC软件下载-仅仅支持微信监测
码支付微信PC监听,是使用python写的小工具,可以监听电脑桌面打开的窗口和内容信息,非侵入微信应用内部,版本升级不影响监听。需要将被监听的微信聊天界面单独拖出来成独立窗口。
PC端软件下载地址:
https://shop.xiaoyan5589.cloudns.ch/buy/8
配置信息
- 打开用户中心,添加接口密钥等信息

- 打开账号管理列表,填写通道信息,格式
pid#aid

- 循环间隔是软件检索窗口通知信息的循环时间,一般设置1-3秒均可,看电脑性能
- 监控窗口根据实际情况勾选,哪个窗口需要检索收款通知,就开启哪个,不使用的就不需要开启

- PC监听同时支持个人码、经营码、赞赏码、商户码,手机监听因无法区分个人码和经营码,添加时只能二选一,且只能在
个人码通道添加。

- PC监听和手机监听,只需要开启一个即可,不要同时开启,会出现重复通知,导致订单异常。
手机软件下软(仅安卓端)
码支付使用的是开源工具短信转发器SmsForwarder来监听收款通知,SmsForwarder功能非常强大,喜欢搞机 的朋友可以多钻研,这是使用文档,短信转发器——监控Android手机短信、来电、APP通知,并根据指定规则转发到其他手机:钉钉机器人、企业微信群机器人、飞书机器人、企业微信应用消息、邮箱、bark、webhook、Telegram机器人、Server酱、PushPlus、手机短信等。
APK版本说明:
universal: 通用版(不在乎安装包大小/懒得选就用这个版本)
安卓端下载地址:
https://shop.xiaoyan5589.cloudns.ch/buy/8
功能配置
找一台不常用的安卓系统手机,下载安装好SmsForwarder之后,点开进行配置,同时打开码支付后台用户中心页面,查看相关配置参数

通用设置
- 开启转发应用通知,只针对应用软件才会转发
- 保活措施全部开启(实际情况看手机环境)
- 通知栏文案可以自定义,方便自己运维,可参考图片
- 其他默认即可,也可以参考实际情况自行设置

发送通道
添加发送通道,选择Webhook类型

编辑规则
- 通道名称自行命名,方便区别就行
- 请求方式选择
POST方式 - Webhook Server 地址用户中心查看
- 消息模版在用户中心查看
- Secert密钥在用户中心查看
- 应签关键字
200
填写完成点击保存即可

转发规则
添加应用转发规则,微信和支付宝需要分别设置,请注意选择应用规则

具体设置
- 选择发送通道
- 匹配字段选择多重匹配,匹配的值去用户中心复制,然后粘贴过来
- 开启启用自定义模版,内容填写去码支付后台账号列表里复制,粘贴过来
注意: 微信支付规则里,第三行的[空格]需要替换成真实的 空格


转发日志
这里可以查看所有的转发记录,点击也可以查看消息详情

注意事项
用户中心后台里的配置APP包名不一定与手机应用里的包名一致,需要查看一下,如果有区别,请修改成实际本机显示的APP包名,下面有图片演示操作



其他收款方式处理
以收钱吧收款方式为例
需要手机端下载收钱吧APP,具体官网地址:https://www.shouqianba.com/

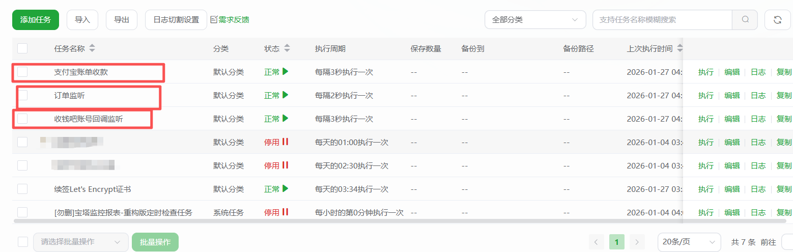
设置账号监听:
账单和免输插件都需要设置定时任务监听,Mpay程序的监听任务是1+n模式,即1个订单监听,n个账号监听。
订单监听:每个站点只需要设置一次即可,在用户中心的聚合码定时任务栏目可以看到具体设置
账号监听:有多少个收款账号在使用,就设置几个,在账号管理的表格监听地址列可以看到
带网址的都是需要监听的
- 服务器设置监听(以宝塔面板演示)

订单监听一般设置1-2秒即可,账号监听设置2-3秒,相加就是回调通知反应的时长
